17.38亿!首开+住总+旭辉+花样年触达上限,密云区檀营乡地块转入高标准建设方案投报程序!
5月10日至11日,北京延期开拍的25宗地正式开拍。
5月10日,北京共推出12宗宅地,其中朝阳10宗,海淀2宗。推出地块的总用地规模约52.1万平,总建面约112.5万平,总起拍价约479.3亿元,最终成交金额约516.2亿。竞政府持有的总建面约7.4万平,竞公租建面约10.4万平,约占总建面规模的9.2%。
5月11日,其余13宗地块正式开拍。据悉,保利+华润+金地、碧桂园、首开+住总+旭辉+花样年、新城、招商参与北京市密云区檀营乡026地块拍卖。本宗地块合理地价上限为17.38亿元,当竞买报价达到土地合理上限价格时,则不再接受更高报价,转入高标准商品住宅建设方案投报程序。
最终,首开+住总+旭辉+花样年触达上限,密云区檀营乡地块转入高标准建设方案投报程序!据测算楼面价约1.5万元/㎡,溢价率14.9%。
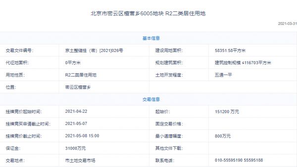
资料显示,该地块编号为京土整储挂(密)[2021]026号,位于密云区檀营乡。该地块属于R2二类居住用地,建设用地面积5.84万平方米,规划建筑面积不高于11.67万平方米,地块容积率2,控高30米(局部45米)。


免责声明:凡注明“来源:房天下”转载请注明出处;文章内容仅供参考,不构成投资建议,也不代表房天下赞同其观点。
相关知识
17.38亿!首开+住总+旭辉+花样年触达上限,密云区檀营乡地块转入高标准建设方案投报程序!
北京密云檀营乡地块转入高标准商品住宅建设方案投报程序
住总+首开+旭辉+花样年联合体14.96亿元竞得北京密云不限价住宅地块
28亿!招商触达上限,崔各庄30-L06地块转入高标准建设方案投报程序!
63.7亿!中铁触达上限,海淀树村北地块转入高标准建设方案投报程序!
31.5亿触及上限!朝阳区王四营01地块转入高标准商品住宅建设方案投报程序
57.3亿!招商+城建触达上限 ,海淀树村南地块转入高标准建设方案投报程序!
54.5亿触及上限!王四营03地块转入高标建设投报程序!
北京朝阳王四营L03地块转入竞高标准住宅建设方案阶段
北京朝阳王四营L02、L05地块转入竞高标准住宅建设方案阶段
推荐资讯
- 1穷人装修3万硬装怎么样,硬装 103721
- 2婆婆对儿媳说的暖心话 婆婆喜 90865
- 3女生戴14号戒指算粗吗 正常 90770
- 400后法定结婚年龄 结婚登记 65137
- 5燃气灶怎么选?跟随方太高效直 54628
- 6男生戴戒指的含义图解 女生戒 40344
- 7杨燕军 | 医院建筑的顶层设 35206
- 8泰安国悦山180平下跃美式风 28381
- 9克洛斯威墙面定制,约您共度— 23387
- 10积木家装修公司正规吗?选装修 22406