2024-05-28 22:01
“认购材料被打回的理由是缺曾用名产调(名下房屋信息查询),而我们根本没有曾用名。”购房人张侠(化名)告诉《每日经济新闻》记者,“甚至在上传征信的通道,提示缺少产调资料。” 5月19日,上海热门新盘...
>> 查看全文
[行业资讯] 深圳楼市放大招!最低首付款比例和利率下限,明日起下调
2024-05-28 21:30
据深圳发布,按照《中国人民银行 国家金融监督管理总局关于调整个人住房贷款最低首付款比例政策的通知》《中国人民银行关于调整商业性个人住房贷款利率政策的通知》等政策精神和因城施策原则,根据深圳市政府调控...
>> 查看全文
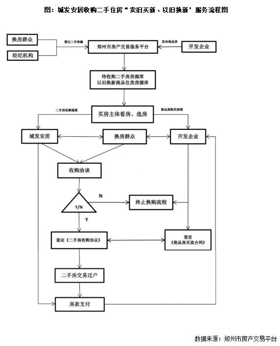
[行业资讯] 快评|郑州二手房“以旧换新”,能否打通楼市交易堵点?
2024-05-28 20:31
导语 不管是“以旧换新”还是“收旧换新”,都需要满足收购资产的收益率要能覆盖借来的资金成本。 ◎ 文 / 房玲、易天宇 5月10日,郑州多部门联合发布最新公告,...
>> 查看全文
[行业资讯] 取消住房贷款利率下限 广州出台购房新政
2024-05-28 20:21
继上海官宣调整房贷利率后,广州成为“517”新政第二个调整房贷政策的一线城市。5月28日,广州市政府办公厅印发《关于进一步促进我市房地产市场平稳健康发展的通知》(以下简称《通知》),其中包括进一步优...
>> 查看全文
2024-05-28 19:11
上海之后,广州也出手了。 广州市政府办公厅在28日印发《关于进一步促进我市房地产市场平稳健康发展的通知》,以更好满足居民刚性住房需求和多样化改善性住房需求,包括进一步优化住房限购政策、住房信贷政策...
>> 查看全文




